Physical Address
304 North Cardinal St.
Dorchester Center, MA 02124
Physical Address
304 North Cardinal St.
Dorchester Center, MA 02124

Khi xây dựng hoặc thiết kế không gian cho nhà ở, cơ quan hay các công trình công cộng, lối đi xe máy luôn là yếu tố được quan tâm hàng đầu để đảm bảo sự thuận tiện và an toàn trong di chuyển. Việc xác định chiều rộng, kích thước cũng như tuân thủ các tiêu chuẩn, quy định về lối đi xe máy giúp tối ưu hóa không gian sử dụng, đồng thời phòng tránh nguy cơ va chạm hay tắc nghẽn. Bài viết dưới đây sẽ tổng hợp các thông tin quan trọng về chiều rộng, tiêu chuẩn, thiết kế và những lưu ý cần biết khi làm lối đi xe máy, nhằm đem lại hiệu quả sử dụng cao nhất.
Khi thiết kế bãi đỗ xe máy, việc xác định chiều rộng lối đi là rất quan trọng để đảm bảo sự thuận tiện trong di chuyển. Đối với mỗi ô đỗ xe máy thông thường, chiều rộng tối thiểu nên nằm trong khoảng 2,5 đến 3 mét. Điều này giúp cho việc đỗ xe và di chuyển giữa các xe được dễ dàng và an toàn hơn.
Ngoài ra, với những chỗ đỗ dành riêng cho người khuyết tật, chiều rộng còn được quy định lên đến 3,5 mét. Việc phân chia rõ ràng cho từng xe máy cũng là yếu tố không thể thiếu. Khu vực này cần được đánh dấu cụ thể, giúp cho mọi người dễ dàng nhận diện và sử dụng.
Trong các bãi đỗ có diện tích lớn, cần thiết phải bố trí lối đi chính rộng từ 2 đến 3 mét, cùng với lối đi phụ khoảng 1,2 đến 1,5 mét. Điều này không chỉ giúp xe di chuyển dễ dàng mà còn tạo điều kiện cho người đi bộ thoải mái. Nhờ vậy, không gian công cộng sẽ trở nên thân thiện và tiện nghi hơn cho tất cả mọi người.

Tiêu chuẩn về chiều rộng lối đi cho bãi đỗ xe máy đóng vai trò quan trọng trong việc đảm bảo an toàn và tiện lợi cho người sử dụng. Theo quy định, diện tích tối thiểu cho mỗi chỗ đỗ xe máy dao động từ 2,5m² đến 3m², giúp mỗi chiếc xe có không gian đủ để đỗ mà không bị va chạm với xe khác.
Khu vực để xe cần được phân chia rõ ràng, và lối đi chính nên rộng từ 2 đến 3 mét. Điều này không chỉ tạo thuận lợi cho việc di chuyển của xe mà còn giúp người đi bộ dễ dàng di chuyển trong bãi. Đối với bãi đỗ xe có diện tích lớn, việc bố trí các lối đi phụ rộng khoảng 1,2 đến 1,5 mét là rất cần thiết.
Ngoài ra, chiều rộng lối đi vào và ra tối thiểu phải là 6 mét. Nếu lối đi hẹp hơn, các ô đỗ xe cần có chiều dài đạt 5,5 mét để đảm bảo không gian cho cả xe và người. Sự tuân thủ các tiêu chuẩn này sẽ góp phần nâng cao trải nghiệm đỗ xe cho mọi người, đặc biệt là những người khuyết tật, khi những chỗ đỗ dành cho họ cần tối thiểu từ 3,5 mét.

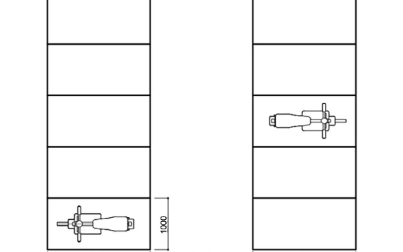
Kích thước lối đi và chỗ đỗ xe máy là một yếu tố quan trọng trong việc thiết kế bãi đậu xe, đặc biệt là tại các khu chung cư hay trung tâm thương mại. Để đảm bảo việc lưu thông dễ dàng, mỗi chỗ đỗ xe máy cần có diện tích tối thiểu từ 2,5 m² đến 3 m². Chiều dài tiêu chuẩn của mỗi chỗ đỗ là 5m, với chiều rộng 2,3m. Đối với những chỗ đỗ dành cho xe của người khuyết tật, kích thước này cần được mở rộng lên đến 3,5m.
Bên cạnh đó, việc thiết kế các lối đi cũng cần được chú trọng. Theo quy định, lối đi giữa các dãy xe phải có chiều rộng tối thiểu từ 1,5m cho một chiều và từ 2,5m cho hai chiều. Điều này giúp đảm bảo sự thuận tiện trong việc di chuyển của cả người và phương tiện, tránh tình trạng kẹt xe và ùn tắc.
Ngoài ra, với mỗi hộ dân trong khu chung cư, cần có ít nhất 2 chỗ đỗ xe máy để đáp ứng nhu cầu sử dụng. Điều này không chỉ giúp nâng cao tiện ích cho cư dân mà còn góp phần xây dựng một không gian sống văn minh và hiện đại.

Quy định về chiều rộng lối đi và chỗ đỗ xe máy là một phần quan trọng trong việc tổ chức không gian đô thị, giúp đảm bảo an toàn và thuận tiện cho người dân. Theo tiêu chuẩn, mỗi ô đỗ xe máy có diện tích tối thiểu từ 2,5 m² đến 3 m², trong khi chỗ đỗ dành cho người khuyết tật yêu cầu chiều rộng lên tới 3,5 m. Điều này giúp người khuyết tật có không gian đủ để ra vào dễ dàng.
Đối với các hộ gia đình, mỗi nhà cần có ít nhất 2 chỗ đỗ xe máy, góp phần giảm bớt tình trạng thiếu chỗ đỗ trong khu vực đông dân cư. Trong trường hợp bãi đỗ xe lớn, nên bố trí lối đi chính rộng từ 2 đến 3 mét để các phương tiện có thể di chuyển thuận lợi, lối phụ thì nên có chiều rộng khoảng 1,2 đến 1,5 mét.
Chiều dài của mỗi chỗ đỗ xe máy tối thiểu là 5 mét, điều này là cần thiết để bảo đảm không gian cho xe khi ra vào. Ngoài ra, với việc phân chia khu vực cho từng xe máy cần được đánh dấu rõ ràng, giúp giảm thiểu tình trạng lộn xộn và tạo sự ngăn nắp trong bãi đỗ xe. Tất cả những quy định này không chỉ đảm bảo an toàn mà còn mang lại sự thoải mái cho người sử dụng.

Thiết kế lối đi cho xe máy trong hầm gửi xe là một yếu tố quan trọng để đảm bảo sự an toàn và thuận tiện cho người sử dụng. Theo tiêu chuẩn, mỗi hầm cần phải có ít nhất hai lối đi: một lối vào và một lối ra. Kích thước tối thiểu của mỗi làn xe cũng không thể nhỏ hơn 0,9m x 1,2m. Điều này đảm bảo rằng xe máy có không gian đủ để di chuyển mà không gây cản trở.
Khi thiết kế khu vực để xe máy, diện tích tối thiểu cho mỗi xe nên là 1,1m (rộng) x 2,3m (dài). Việc này không chỉ giúp tối ưu hóa diện tích sử dụng mà còn tạo ra một không gian thoải mái cho mỗi phương tiện. Hơn nữa, cần lưu ý rằng cứ 100m2 diện tích sàn căn hộ thì tối thiểu phải dành 20m2 cho bãi đỗ xe, bao gồm cả lối đi nội bộ.
Ngoài ra, trong các bãi đỗ xe nhiều tầng, việc bố trí các đường dốc hợp lý cùng với thang máy chuyên dụng là rất cần thiết. Điều này giúp lưu thông xe thuận tiện hơn, tránh tình trạng ùn tắc. Thiết kế phải tuân thủ các tiêu chuẩn hiện hành, đảm bảo không chỉ về mặt thẩm mỹ mà còn về sự an toàn trong vận hành.

Khi nói đến việc thiết kế khu vực đỗ xe máy, nhiều người thường không để ý đến diện tích tối thiểu cần thiết. Theo quy định, mỗi chỗ để xe máy cần có diện tích từ 2,5 đến 3m², với chiều dài khoảng 5m và chiều rộng là 2,3m. Đặc biệt, với những xe dành cho người khuyết tật, chiều rộng có thể lên đến 3,5m. Điều này giúp đảm bảo rằng mọi người, đặc biệt là những người có nhu cầu đặc biệt, đều có không gian đủ để đỗ xe một cách thoải mái.
Bên cạnh diện tích chỗ để, việc phân chia khu vực đỗ xe cũng rất quan trọng. Các vị trí đỗ xe cần được đánh dấu rõ ràng và lối đi giữa các hàng xe nên tối thiểu là 1,5m cho một chiều và 2,5m cho hai chiều. Điều này không chỉ giúp lưu thông dễ dàng mà còn đảm bảo an toàn cho người dùng.
Nếu bãi đậu xe nằm dưới tầng hầm, quan trọng là có ít nhất hai lối ra vào riêng biệt để tránh tắc nghẽn. Khi tuân thủ những quy định này, kết cấu hạ tầng giao thông sẽ hoạt động hiệu quả hơn, mang lại trải nghiệm thuận lợi cho tất cả mọi người tham gia giao thông.

Khi tham gia giao thông bằng xe máy, an toàn luôn phải được đặt lên hàng đầu. Để có thể lái xe một cách an toàn, bạn nên bắt đầu bằng việc kiểm tra tình hình xung quanh. Hãy nhìn vào gương và quay đầu qua vai để chắc chắn rằng không có xe nào đang tới gần. Đặc biệt, trong những khúc cua khuất tầm nhìn, điều chỉnh hướng đi để có góc nhìn rộng sẽ giúp bạn tránh được những tình huống nguy hiểm.
Tiếp theo, đừng quên bật đèn xi nhan khi muốn rẽ để báo hiệu cho các phương tiện khác. Chạy quá tốc độ không chỉ gây nguy hiểm cho bạn mà còn có thể khiến bạn bị phạt tiền từ 300.000 đến 400.000 đồng. Nếu bạn điều khiển xe chạy dưới 60km/h, hãy nhớ giữ khoảng cách an toàn với xe phía trước để có thể phản ứng kịp thời trong các tình huống khẩn cấp.
Đặc biệt, khi lái xe, không được chở quá tải hay thực hiện một số hành vi vi phạm như chuyển hướng đột ngột. Cuối cùng, đừng quên nhường đường cho người đi bộ hoặc xe đạp, vì đây là cách thể hiện trách nhiệm và tôn trọng luật giao thông. Hãy luôn tập trung và cẩn trọng để mỗi chuyến đi đều an toàn nhé!

Khi lưu thông trên đường, việc giữ khoảng cách an toàn với xe phía trước là điều vô cùng quan trọng. Điều này giúp cho chúng ta có đủ thời gian phản ứng khi có tình huống bất ngờ xảy ra. Bạn nên áp dụng một số nguyên tắc lái xe an toàn như đạp phanh bỏ ga và duy trì nguyên tắc 3 giây. Ngoài ra, tư thế ngồi cũng ảnh hưởng nhiều đến khả năng vận hành của xe máy điện, vì vậy hãy đảm bảo rằng cả bạn và hành khách đều ngồi đúng cách.
Trước khi khởi hành, đừng quên kiểm tra xe, đảm bảo bạn có giấy phép lái xe và bảo hiểm đầy đủ. Mặc trang phục kín đáo và phù hợp cũng là một yếu tố quan trọng bảo vệ bạn. Khi di chuyển, nếu gặp trời mưa, hãy chạy với tốc độ chậm và ổn định để tránh trơn trượt. Khi đi lên hoặc xuống dốc, nhớ chuyển về số thấp để giữ kiểm soát.
Cuối cùng, hãy nhớ hướng dẫn hành khách cách lên, xuống và ngồi đúng cách trên xe. Đặc biệt, khi vào cua, cả hai nên di chuyển theo nhịp động tác của nhau để tăng cường an toàn. Chúc bạn có những chuyến đi an toàn và thú vị!

Lối đi xe máy trong nhà là một vấn đề khá phổ biến hiện nay, đặc biệt ở những khu vực đông đúc. Để tận dụng không gian, nhiều người thường lựa chọn hiên nhà, khoảng trống tầng trệt hoặc xây thêm tầng hầm để phục vụ nhu cầu đỗ xe. Nếu bạn có sân trước, đó cũng là một lựa chọn hợp lý không kém.
Khi đưa xe vào nhà, nếu cần nổ máy, bạn nên tắt máy ngay sau đó và mở cửa cho thoáng khí một lát. Việc này không chỉ giúp bảo vệ sức khỏe cho gia đình mà còn tránh làm ảnh hưởng đến không gian sống. Để đảm bảo an toàn, bạn cũng nên thường xuyên kiểm tra và bảo dưỡng xe.
Mặc dù không có luật nào buộc người dân phải đỗ xe máy trong nhà, nhưng cũng cần chú ý đến vấn đề an toàn giao thông. Lối đi từ bãi đỗ xe cần đủ rộng rãi để người và xe di chuyển thuận tiện. Các quy định còn chỉ ra kích thước chỗ đỗ xe máy tối thiểu từ 2,5 đến 3m²/xe, để đảm bảo không gây cản trở. Việc bố trí lối đi cũng cần hợp lý, với độ dốc không quá lớn, giúp di chuyển dễ dàng hơn.

Khi tham gia giao thông bằng xe máy, việc giữ khoảng cách an toàn giữa các phương tiện là rất quan trọng để tránh tai nạn. Đối với xe chạy với tốc độ từ 80-100 km/h, khoảng cách an toàn tối thiểu là 70 mét. Điều này giúp bạn có đủ thời gian và không gian để xử lý các tình huống bất ngờ trên đường.
Nếu tốc độ tăng lên từ 100-120 km/h, khoảng cách an toàn tối thiểu cần phải là 100 mét. Điều này không chỉ bảo vệ bản thân mà còn cũng bảo vệ những người tham gia giao thông khác. Khi lái xe, bạn cũng nên chú ý đến tốc độ của mình. Đối với tốc độ từ 60-80 km/h, khoảng cách an toàn là 55 mét, cho phép có một khoảng lùi hợp lý.
Ngoài việc giữ khoảng cách, bạn cũng nên điều chỉnh tốc độ chạy phù hợp với mặt đường và điều kiện giao thông. Hãy nhớ rằng, đi chậm thì nên để ở số nhỏ, còn đi nhanh thì lên số lớn để duy trì sự kiểm soát tốt hơn cho chiếc xe của mình. Sự chú ý và cẩn thận sẽ giúp bạn có một chuyến đi an toàn hơn.

Trong bối cảnh ngày càng nhiều phương tiện tham gia giao thông, việc mở rộng lối đi cho xe máy trở nên cần thiết hơn bao giờ hết. Một chiều rộng lối đi xe máy hợp lý không chỉ giúp giảm thiểu ùn tắc mà còn đảm bảo an toàn cho người điều khiển. Ngoài ra, quy hoạch hệ thống lối đi cũng cần phải tính đến các yếu tố khác như mật độ dân cư, thói quen di chuyển và môi trường xung quanh. Việc cải thiện chiều rộng lối đi cho xe máy sẽ góp phần nâng cao chất lượng cuộc sống của người dân, đồng thời thúc đẩy phát triển bền vững cho đô thị.